Vivo запатентовала смартфон с летающей камерой: она установлена на мини-дроне, который прячется в корпусе телефона - «Смартфоны»
Производители продолжают экспериментировать с расположением камер смартфонов. На этот раз отличилась компания Vivo.
Что известно
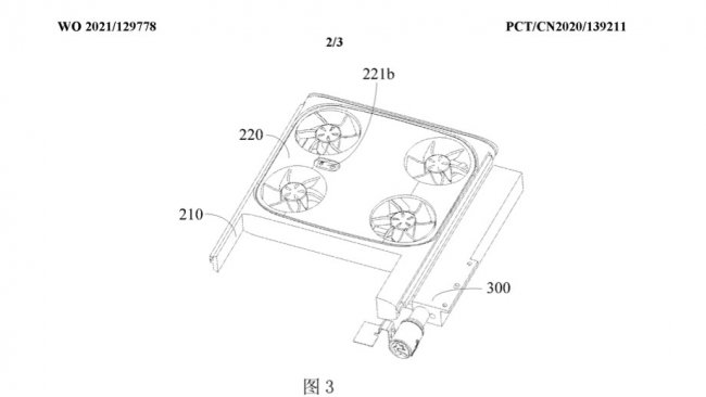
Наши коллеги из LetsGoDigital обнаружили в базе данных Всемирной организации интеллектуальной собственности (WIPO) патент необычного смартфона бренда. Внешне аппарат выглядит, как обычная трубка, но у него есть выдвижная конструкция в верхней части. В ней спрятан компактный дрон с двумя камерами (одна смотрит вверх, а другая в бок) и тремя инфракрасными датчиками. Благодаря этому, можно делать фотографии с воздуха.
Кстати, идея воздушных селфи уже не нова. В своё время компания AirSelfie выпустила дрон AIR PIX специально для этого, но Vivo пошла ещё дальше и установила его в смартфон. Естественно, такой аппарат существует только на бумаге. Выйдет ли он на рынок — маловероятно.
Источник: LetsGoDigital
И будьте в курсе первыми!



